fun88乐天使 | 官方网站

 
 
【疑难解析】由一道高考题梳理基因工程考点“引物”相关知识

来源:乐天使fun88高一生物备课组 时间:2025-04-21
 

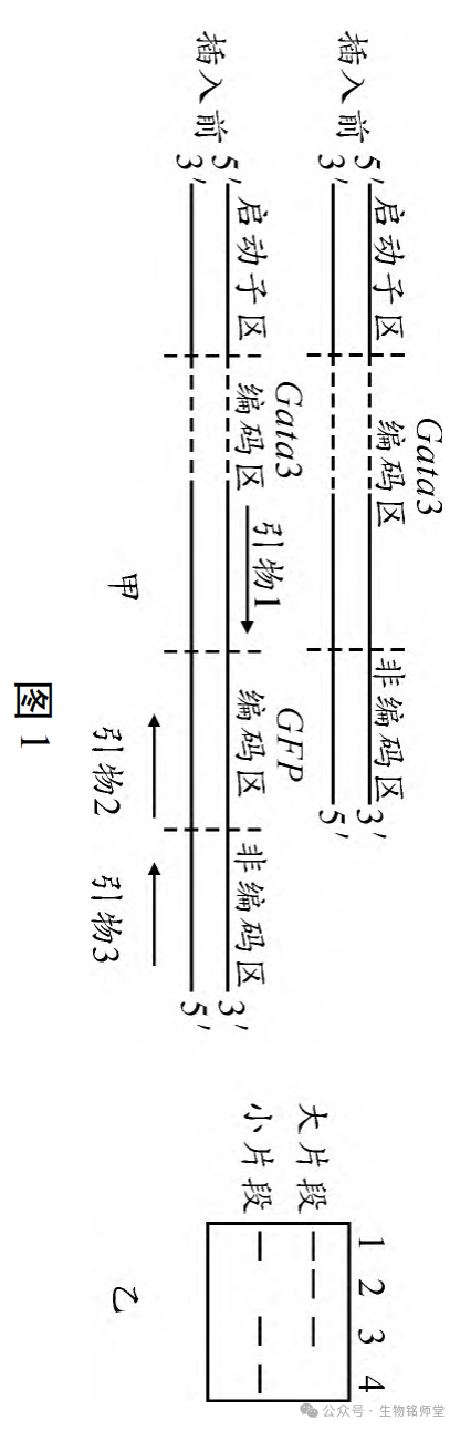
摘 要 基因工程是当前发展最快的一项生物技术,在生物技术中处于核心地位。目的基因是基因工程操作的核心对象,基因工程的第一步是获取与制备目的基因。当前获取目的基因最常用的方式是PCR 技术,关键是引物的设计。引物设计原则多,为实现不同目的,引物设计又具有多样性。高考以及各地模拟考试中基因工程是重要的考点,引物是考查的热点,考查变化多样,难度较大。以2023 年高考浙江省6 月选考生物学试题第19题为例,分析基因工程中“引物”的相关应用。

关键词 基因工程技术;引物;高考生物学

文章编号 1005-2259(2024)2-0052-05

来 源 中学生物教学,仅供教学交流用

图片


图片
图片
图片
图片
图片
图片
图片
图片
图片
图片
图片
图片
图片


文章来源:生物铭师堂,侵权请告知,删!


 
打印本页】【关闭窗口
 
 
Baidu
sogou